:     
 Przebieg: 



 • Album
 • Chat
 • FAQ
    Gość  • Rejestracja • 
 • Profil
 • Grupy
 • Szukaj
 • Download
 • Statystyki
 • Klubowicze
 • Użytkownicy
Użytkownik: HasÅ‚o:  


•  SALON R25  •  R25-TV  •  FORUM  •  PORTAL  •  LINKOWNIA  •  ! POCZTA !  •

Poprzedni temat :: Następny temat
Alarm ?
Autor Wiadomość
studys 
Fachowy forowicz


R25: 2,2i, GTX, J7T, B29E, składak 94
Wiek: 50
Dołączył: 10 Maj 2005
Posty: 298
SkÄ…d: Warszawa
WysÅ‚any: 2005-06-10, 12:36   Alarm ?
 

Zulus pod co podłączałeś alarm u siebie? Ja też mam zamiar założyć alarm albo immobilizer. Alarm zakładałem w swoim starym dizelku i u znajomego ale tam nie było tyle elektryki. I tutaj obawiam się że jak coś zwale (np. niepewne połączenia) to będę miał problemy. No i nie wiem pod którekable się podłączać.
Miałem zamiar odciąć zasilanie pompy paliwa (to chyba nie byłoby takie trudne) ale odcięcie sterowaniem wtrysku lub zapłonu już takie łatwe nie jest.
W dieslu wystarczyło odciąć elektrozawór i przekaznik od grzania świec.
Może moja Renia nie jest jakaś super odbajerowana ale szkoda by mi jej było, bo jestem z niej zadowolony.
Zastanawiałem się jeszcze o jakimś ukrytym wyłączniku ale mam mieszane uczucia w tym temacie, bo z tym róznie bywa.
Co byście mi doradzili. Podejrzewam że raczej zostane przy Immobilizerze bo do alarmu zaraz będę chciał podpiąć centralny zamek i może szyby a to juz zaczyna się niezła robota.
 
 
 
Zulus 
Fachowiec
| PIKUR |



R25: Turbo-DX B290 '91
ImiÄ™: Renia
Pomógł: 14 razy
Wiek: 45
Dołączył: 24 Maj 2005
Posty: 1076
SkÄ…d: Siedlce
WysÅ‚any: 2005-06-10, 13:11   
 

Glowne zasilanie do alarmu mam puszczone ze swiatel awaryjnych, poniewaz wiekszosc pradu to wlasnie one biora w czasie pracy alarmu a i tak beda wykorzystane wiec nie ma problemu, zasilanie dodatkowe wzialem zza stacyjki, do tego ultradzwieki i krancowki w drzwiach (najlepsze wpiecie do krancowek jakie znalazlem to w wiazce idacej w slupku pod schowkiem). Przewody z alarmu do swiatel awaryjnych tez wpialem pod wylacznik od awaryjnych. Podlaczenie pod centralny zrobilem za pomoca dwoch przekaznikow wg. instrukcji od alarmu (Super Forteca) i podpialem sie pod pstryczek kolo dzwigni zmiany biegow. Jeszcze musze tylko przeciagnac przewod do krancowki w przedniej klapie i wpiac gdzies przekaznik od odciecia zaplonu/paliwa :) Juz tak prawie rok jezdze i nie mialem jeszcze problemow z alarmem (no poza wzbudzaniem sie ultradzwiekow jesli samochod dlugo stoi na pelnym sloncu)
_________________
Jesli cos nie dziala to popraw styki :)
 
 
 
fizyk 
Spełniony forowicz
ful łopcja:D


R25: 2.8 V6i Z7W B29G 1990
Wiek: 43
Dołączył: 14 Kwi 2005
Posty: 368
Skąd: dębica podkarpackie
WysÅ‚any: 2005-06-10, 14:01   
 

jeżeli chodzi o alarmy to ja mam małe zaufanie do wszelkich alarmów fabrycznych.
musimy sobie odpowiedzieć na pytanie przed czym chcemy zabezpieczyć samochód. przed włąmaniem sie do niego czy przed jego kradzieża. jezeli chodzi o włamanie no to oczywiscie w celu kradzieszy(zakłądam ze nie ma radyjka philipsa :D ) wiec złodziej wyłamuje zamek wchoidzi do samochodu w kilka sekund bierze co mu potrzeba i go nie ma, a alarm dalej wyje..wiec zabezpieczenie przed kradzieżą jest zbędne
Jeżeli chodzi o kradzież samochodu to już inna psrawa ale tym sie zajmują raczej już ludzie znajacy się na tym ( kturych nie interesuje cięzko sprzedający sie renault 25 tak na marginesie) wiec sprzęt do otwożenia alarmu drogą radiową będą miec wiec.. nie ma sensu montowania go skoro będzie bezużyteczny :> tylko niebespiecznie wzrasta pewnosc kierowcy ze nikt nie dotkniemu samochodu
Jezeli chodzi o moje prywatne zdanie jeżeli chodzi o zabezpieczenia to najleprzym rozwiązaniem jest prosta instalacia w wylacznikiem własnej roboty (o ironio -najabrdizej skuteczny sposub), dlatego ze złodziej nie zna tego zabespieczenia poniewaz jest ono inne w każdym przypadku (w przeciwieństwie dofabrycznych zabespieczeń) robisz mu odcięcie drugiego zapłonu wyłacznikioem a maluteńki mikrostyk (sterujacy przekaźnikiem- chodzi o wielkość prącu płynącego przez mikrostyk) umieszczasz w jakimś miejscu gdzie nikt by się go nie spodziewal ( lub umieszczasz podłaczenie w przycisku fabrycznym jakimś jeżeli masz pusty -ale w tym przypadku proponuje kombinacje 2 przycisków).
Taka moja prywatna rada i spojżenie na "sens" zabespieczania samochodu.
Pozdrawiam
 
 
studys 
Fachowy forowicz


R25: 2,2i, GTX, J7T, B29E, składak 94
Wiek: 50
Dołączył: 10 Maj 2005
Posty: 298
SkÄ…d: Warszawa
WysÅ‚any: 2005-06-10, 14:18   
 

Dobra a jak to zrobić z mikrostykiem i przekażnikiem skoro przekaznik zwiera jak dostaje napięcie. A mikrostyk daje napięcie jak jest wcisnięty. Odciąłbym paliwo przez przekażnik i mikrostyk ale jeszcze cos by się tu przydało żeby się sprawdziło i działało.
 
 
 
fizyk 
Spełniony forowicz
ful łopcja:D


R25: 2.8 V6i Z7W B29G 1990
Wiek: 43
Dołączył: 14 Kwi 2005
Posty: 368
Skąd: dębica podkarpackie
WysÅ‚any: 2005-06-10, 14:30   
 

jezeli choidzi o przekaźniki tak samo jak i o mikrostyki to są typy rozłączane właczane i przełączane weic z tym nie ma zadnego problemu. teraz wychodze do pracy i ni emam czau ci tego opisywac dokladnie ale to jest proste weic moze wiesz:) jak coc to pytaj pozdrawiam
 
 
studys 
Fachowy forowicz


R25: 2,2i, GTX, J7T, B29E, składak 94
Wiek: 50
Dołączył: 10 Maj 2005
Posty: 298
SkÄ…d: Warszawa
WysÅ‚any: 2005-06-10, 14:50   
 

Ja mam na myśli taki mikroprzelącznik jak np w wieży który nie załącza się na stałe. Chyba że ja czegos nie wiem. Przekażniki są takie które działaja na zwarcie i na rozwarcie ale chyba cały czas muszą dostawać napięcie żeby cewka działała.
Będę musiał się przejść do sklepu niedaleko mnie, zobaczymy co oni powiedzą.
fizyk jak dasz radę coś mi przyblizyć w tym temacie (poprostu już dawno nie zajmowałem się takimi rzeczami) to będę wdzięczny.
 
 
 
fizyk 
Spełniony forowicz
ful łopcja:D


R25: 2.8 V6i Z7W B29G 1990
Wiek: 43
Dołączył: 14 Kwi 2005
Posty: 368
Skąd: dębica podkarpackie
WysÅ‚any: 2005-06-11, 00:00   
 

nie mialem na mysli takiego mikrostyku jak ty ale z takim o jakim ty mówisz nie będzie problemu tylko tyle ze będziesz musiał mieć podwujny przekaźnik( nie samochodowy-lub dwa samochodowe połączone, osobiście polecam jeden podwujny) kosz toakiego przekaźniczka to koło 3 zł i efekt masz taki..
właczasz zapłoin robisz pstryk i załącza ci sie przekaźnik, wyłacza sie natomiast po wyłączeniu zapłonu i żeby jeszcze raz właczyć zapłon należy jeszcze raz włączyć mikrostyk. jak nie bedziesz wiedzial jak to podlaczyc lub jak bedziesz mial jakies problemy to daj znac
pozdrawiam :)
 
 
studys 
Fachowy forowicz


R25: 2,2i, GTX, J7T, B29E, składak 94
Wiek: 50
Dołączył: 10 Maj 2005
Posty: 298
SkÄ…d: Warszawa
WysÅ‚any: 2005-06-12, 13:55   
 

Tak sobie myslalem o tych przekaznikach i nic mi nie przychodzi do glowy. Mam mikrostyk podobny do reseta ale jak go podlaczyc zeby zrobic z tego wylacznik do np.zasilania poompy przez przekaznik.
Widzialem dzisiaj centralke alarmu za 120 zeta z 2 pilotami. Moze nie jest to pythoni ma chyba mniej funkcji ale w razie czego jest jakas alternatywa. Byla tez sama centralka antynapadowa za 50 zeta.
Moze uda mi sie zrobic cos samemu. Mam juz nawet wstepna koncepcje gdzie bedzie mikrostyk.
fizyk jak mozesz to opisz mi jak Ty to widzisz, moze jakis schemat.
 
 
 
fizyk 
Spełniony forowicz
ful łopcja:D


R25: 2.8 V6i Z7W B29G 1990
Wiek: 43
Dołączył: 14 Kwi 2005
Posty: 368
Skąd: dębica podkarpackie
WysÅ‚any: 2005-06-12, 19:04   
 

czesc troszeczke sie napocilem i stwozylem an szybko taki schamacik w paincie :/ ale to jest takie proste ze będziesz wiedzial o co chodzi
krutko ci to opisze.
a weic to "użądzenie" słuzy do włączenia napięcia na B mikrostykiem wtedy kieny napięcie jest na A (punkty a i b mogą oznaczać przecięty przewud od pompy lub od stacyjki gdzie na A musi być cały czas prad podczas gdy włacznik ma poiddtrzymywać czyli podczas gdy samochud jest zapalony) kiedy napięcie na A zniknie ukłąd się automatycznie wyłączy. i mozemy go właczyć dopiero gdy pojwi sie napiecie na A (sam sie nie uruchomi-ale o to nam chodizlo :D )
M-mikrowłącznik (normalnie w pozycij wyłączonej ."włącz i puść")
P-podwójny przekaźnik gdzie
1-3-4- stycznik do właczenia napięcia na B (styk 1-4 normalnie rozwarty)
2-5-6- stycznik do podtrzymania zasilania na przekaźniku podczas gdy puścimy mikrowłącznik (styk 2-6 normalnie rozwarty) Jeżeli coś niejasnego to pytac postaram sie pomóc
pozdrawiam :)

[ Dodano: 2005-06-12, 19:06 ]
kurde pisze że rozszezenie bmp jest niedozwolone :/ ja ci to wyśle na maila ten plik a ty jak bedziesz umial go przerobic to wżuć go tutaj ok? żeby i kroś inny może mial z tego pożytek:) pozdrawiam
 
 
Zwierzak
[Usunięty]

WysÅ‚any: 2005-06-12, 19:30   
 

Dajcie go mnie
Ja wszystko na wsszystko przerobiÄ™;)
W granicach rozsÄ…dku ;)
 
 
studys 
Fachowy forowicz


R25: 2,2i, GTX, J7T, B29E, składak 94
Wiek: 50
Dołączył: 10 Maj 2005
Posty: 298
SkÄ…d: Warszawa
WysÅ‚any: 2005-06-12, 22:20   
 

fizyk a jest mozliwosc z dwoma przekaznikami samochodowymi bo nie wiem czy uda mi sie dostac taki podwojny. Choc zapytam sie znajomego, moze bedzie mial albo przynajmniej wiedzial gdzie mozna dostac.
 
 
 
Zulus 
Fachowiec
| PIKUR |



R25: Turbo-DX B290 '91
ImiÄ™: Renia
Pomógł: 14 razy
Wiek: 45
Dołączył: 24 Maj 2005
Posty: 1076
SkÄ…d: Siedlce
WysÅ‚any: 2005-06-12, 22:25   
 

Jesli ci sie nie uda zdobyc samochodowego przekaznika to wal smialo do pierwszego lepszego sklepu z czesciami elektronicznymi i tam za 2-10zl kupisz przekaznik 12V z podwojnymi stykami 16A.
_________________
Jesli cos nie dziala to popraw styki :)
 
 
 
fizyk 
Spełniony forowicz
ful łopcja:D


R25: 2.8 V6i Z7W B29G 1990
Wiek: 43
Dołączył: 14 Kwi 2005
Posty: 368
Skąd: dębica podkarpackie
WysÅ‚any: 2005-06-13, 12:19   
 

witam
ja osobiście polecam jeden podwójny przekaźnik na 12V , nie ma sensu utrudniac sobie życia i dodawać przewoduw zwiękrzajac "zaawansowanie" układu kture nie bedzie przez to badziej nowoczesne a tylko bardziej skłonne do awarij. Poza tym jezeli nie masz zadnych przekaźników wogule to koszt jednego podwójnego będzie na pewno więkrzy niż dwóch zamochodowych> Przy zakópie zwruc uwage na jego możliwosći prądowe żeby ci sie nie przepalił po pierwszym użyciu :D ( w zalezności czego odłaczenie chcesz zrobić taki dobierz amperaz-chodzi o to aby nei był za mały)
pozdrawiam
 
 
studys 
Fachowy forowicz


R25: 2,2i, GTX, J7T, B29E, składak 94
Wiek: 50
Dołączył: 10 Maj 2005
Posty: 298
SkÄ…d: Warszawa
WysÅ‚any: 2005-06-13, 13:27   
 

To jest schemacik zaprojektowany przez fizyka
Jest sprytny, mi to nie przyszlo do głowy. Elektryką zajmuje się bardziej hobbystycznie albo jak coś padnie.
Widze że jestem jeszcze w tym cienki :(

[ Dodano: 2005-06-19, 23:31 ]
No i zostaBa podjeta decyzja o zalozeniu alarmu. Bedzie do niego tez podlaczony centralny zamek.
Zulus pamietasz jak wyglada sterowanie centralnym zamkiem (plus czy masa), ewentualnie jak podlaczales.Tez podlacze pod przycisk zamykania drzwi bo to jest chyba miejsce najwygodniejsze.

schemat pstryczka.jpg
Pobierz Plik ¶ci±gniêto 326 raz(y) 7.35 KB

 
 
 
Zulus 
Fachowiec
| PIKUR |



R25: Turbo-DX B290 '91
ImiÄ™: Renia
Pomógł: 14 razy
Wiek: 45
Dołączył: 24 Maj 2005
Posty: 1076
SkÄ…d: Siedlce
WysÅ‚any: 2005-06-21, 22:44   
 

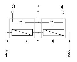
Centralny sterowany jest plusem wiec odwrotnie niz wiekszosc alarmow czyli trzeba zastosowac przejsciowke na przekaznikach. ja to zrobilem tak jak na rysunku. na rysunku z przekazniczkami pod nozki 1 i 2 podlaczasz sygnal z alarmu (sterowanie masa) a do 3, 4 i + wpinasz sie kabelkami polaczonymi z nozkami przelacznika centralnego.

centralny.JPG
pstryczek centralnego
Plik ¶ci±gniêto 59 raz(y) 37.6 KB

centralny1.JPG
przekazniki
Pobierz Plik ¶ci±gniêto 308 raz(y) 6.69 KB

_________________
Jesli cos nie dziala to popraw styki :)
 
 
 
WyÅ›wietl posty z ostatnich:   
Odpowiedz do tematu
Nie możesz pisać nowych tematów
Nie możesz odpowiadać w tematach
Nie możesz zmieniać swoich postów
Nie możesz usuwać swoich postów
Nie możesz głosować w ankietach
Nie mo¿esz za³±czaæ plików na tym forum
Mo¿esz ¶ci±gaæ za³±czniki na tym forum
Dodaj temat do Ulubionych
Wersja do druku

Skocz do:  

Powered by phpBB modified by Przemo © 2003 phpBB Group
Hosting strony: www.tombogmedia.pl
Strona wygenerowana w 0.03 sekundy. Zapytań do SQL: 28